Info
| Extra:
1x Čtvercový |
Popis
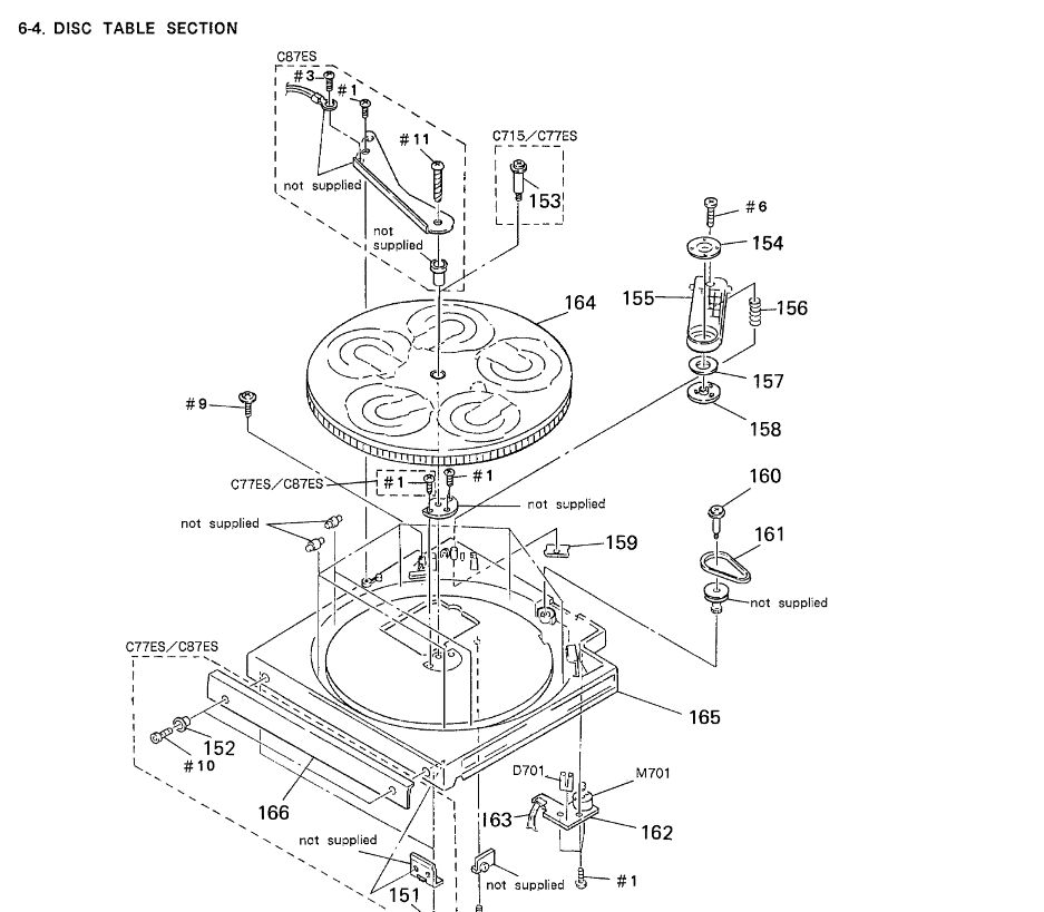
Sada řemínků pro tento model obsahuje 1ks řemínků. 0 x plochý, 1 x hranatý, 0 x kulatý. Jedná se o náhrady originálních řemínků a proto se rozměry mohou mírně lišit od původních avšak bez vlivu na funkčnost přístroje.Foto je pouze ilustrační.
Loading belt


